Форум Игромании
 
Регистрация
Справка

Nintendo Игровые консоли компании Nintendo

Ответ
 
Опции темы
Старый 16.01.2025, 21:44   #1
Модератор
 
Аватар для DoctorWagner

 
Регистрация: 31.07.2011
Адрес: Екатеринбург
Сообщений: 26,192
Репутация: 2855 [+/-]
Nintendo Switch 2






Официальный сайт
Старт продаж - 5 июня 2025
Цена за Nintendo Switch 2 - 449 $


Цитата:
Консоль все еще можно использовать в портативном режиме или подключить к док-станции, что увеличит ее производительность. При этом были внесены точечные улучшения в механизм соединения модулей, а также джойстиков (на магнитах). Кроме того, появилась нормальная рамка-подставка.

Что касается возможностей, то главной новинкой должно стать внедрение технологий нейросетевой реконструкции изображения на базе NVIDIA DLSS. Этим консоль выгодно отличается от других представленных на рынке.
Технические характеристики консоли:

Скрытый текст:
В портативном режиме графический процессор будет работать на частоте 561 МГц, обеспечивая производительность 1,71 TFLOPS. В докированном режиме частота GPU увеличится до 1000 МГц, что даст около 3,1 TFLOPS.

Nintendo Switch 2 будет работать на базе чипа NVIDIA Tegra 239, оснащенного восьмиядерным процессором и графическим ядром архитектуры Ampere с 2048 CUDA-ядрами. Важным преимуществом станет поддержка технологий DLSS Super Resolution и Ray Reconstruction. Хотя трассировка лучей может оказаться слишком требовательной для GPU, технология DLSS позволит существенно повысить производительность.

Switch 2 будет поддерживать обратную совместимость с играми от Switch, в том числе на уровне картриджей.


Nintendo Switch 2 – First-look trailer


Последний раз редактировалось DoctorWagner; 27.05.2025 в 20:13.
DoctorWagner вне форума  
Ответить с цитированием
Старый 18.06.2025, 01:30   #101
Игроман
 
Аватар для MegaSilent
 
Регистрация: 28.09.2006
Адрес: Saturn satellite Titan
Сообщений: 2,967
Репутация: 502 [+/-]
Цитата:
Сообщение от Kaystar Посмотреть сообщение
Барбекю, а разве на приставках когда нить был бесплатный мультиплеер?
На PS2 и PS3 был бесплатный, у нинтендо до свича тоже все бесплатно было.
__________________
iMac m1 2020:
16GB LPDDR4X
256GB Flash Storage
- PSP e1008 8 GB
- PS Vita 128 GB
- Nintendo Switch 512 GB
- XBOX 360 500 GB
- XBOX ONE X + Kinect
- XBOX Series X – Halo Infinite Limited Edition + 12TB HDD + 2TB SSD
- XBOX Original 1 TB
Youtube http://www.youtube.com/user/abugray
MegaSilent вне форума  
Ответить с цитированием
Старый 19.06.2025, 21:44   #102
Модератор
 
Аватар для DoctorWagner

 
Регистрация: 31.07.2011
Адрес: Екатеринбург
Сообщений: 26,192
Репутация: 2855 [+/-]
Цитата:
Некоторые пользователи Switch 2 начали получать ошибку 2134-4508, которая, как сообщает IGN, означает полную блокировку доступа консоли к сетевым функциям. Проблема связана с использованием стороннего устройства под названием Mig — картриджа с поддержкой microSD, предназначенного для запуска резервных копий игр.

Ошибка 2134-4508 приводит к полной блокировке онлайн-функций на уровне железа. Даже после сброса к заводским настройкам консоль становится невозможно полноценно использовать — авторизация в системе закрывается. При этом аккаунт пользователя остается активным, и его официальные виртуальные картриджи позволяют перенести на другую систему, что указывает на локальный характер блокировки.
В этот раз Нинка дала ультимативный бой пиратству с запуска консоли.
DoctorWagner вне форума  
Ответить с цитированием
Старый 20.06.2025, 01:28   #103
Гейммастер
 
Аватар для Барбекю
 
Регистрация: 19.04.2014
Адрес: Twin Peaks
Сообщений: 9,814
Репутация: 823 [+/-]
На уровне железа? То есть даже не на уровне прошивки, а именно ломает какой-то компонент или пережигает предохранитель на плате?

Это получается она не только дала бой пиратству, но и вторичному рынку - как ты поймёшь, окирпичина консоль или нет при покупке с рук? Игра, вроде запускается а придёшь домой, не обновления не качает, не другие игры требующие обновления не запускает, не игр не купить цифровых, не в мультиплеер даже заплатив за него Нинтендо не поиграть.

Как я и говорил, теперь консоль вам не пренадлежит и Нинтендо имеет право её сломать теперь законно согласно их новому соглашению конченого пользователя. Ну а вы и дальше оправдывайте Нинтендо и других платформодержателей, вас ещё и не так нагнут.
__________________
LAPTOP LENOVO LEGION 7I GEN 6 || INTEL CORE I9-11980HK @ 3.30-5.00 GHz || NVIDIA GEFORCE RTX 3080 16GB GDDR6 165W || 32 GB RAM DDR4 3200MHz (2 x 16 GB ) || 2X1TB SSD RAID 0 || WINDOWS 11 PRO 64 || 16″ WQXGA GAMING DISPLAY @ 165Hz

Последний раз редактировалось Барбекю; 20.06.2025 в 01:40.
Барбекю вне форума  
Ответить с цитированием
Старый 20.06.2025, 08:55   #104
Модератор
 
Аватар для DoctorWagner

 
Регистрация: 31.07.2011
Адрес: Екатеринбург
Сообщений: 26,192
Репутация: 2855 [+/-]
Барбекю, ничего они тебе не прожигают.) У каждой консоли есть свой уникальный идентификатор, который видит Нинка при подключении к онлайну. Они просто банят консоль по идентификатору.) Если что, Сони так делали уже давно, еще со времён PS3.) У меня именно так мою PS3 Slim и забанили, хотя в пиратки я на ней не играл, и даже не запускал их.) На консоли просто стояла прошивка, которую и спалили в Сони.) Никакие разговоры с технической поддержкой не помогли.) Здесь аналогичная ситуация.)

Нинка прекрасно понимает свою аудиторию, и прекрасно понимает, что никакими продажами она не рискует совсем.) Ты не пойдешь покупать консоль забаненную на вторичке, ты купишь у Нин новую.) Ну и проверить подключение к онлайну при покупке консоли не составляет каких-то проблем.)

Добавлено через 2 минуты
Ну и этому всему вторит свежая новость о том, что фанаты скупили огромное количество нового Марио Карта, а на всю остальную мультиплатформу забили большой и толстый болт, за исключением лишь Киберпанка.) Просто целевая аудитория понимает, зачем и для чего они берут эту консоль, и Нинка это знает.)

Последний раз редактировалось DoctorWagner; 20.06.2025 в 08:58. Причина: Добавлено сообщение
DoctorWagner вне форума  
Ответить с цитированием
Старый 20.06.2025, 12:10   #105
Гейммастер
 
Аватар для Барбекю
 
Регистрация: 19.04.2014
Адрес: Twin Peaks
Сообщений: 9,814
Репутация: 823 [+/-]
Тогда это блокировка не на уровне железа (аппаратное обеспечение), а блокировка на уровне програмного обеспечения (софт) и уровне встроенного програмного обеспечения (прошивки).

Блокировка на уровне железа подразумевает изменения в железе (пережигаемые джамперы, предохранители, электромеханические замки и прочее) а не в электончиках, которые сидят на транзисторах запоминающих устройств. В таком случае то, что сетевая карта не работает, это не потому, что пережгли предохранитель логической цепи или питания устройства, а потому, что не послали нужную команду на активацию этого устройства управляющему этим устройством процессору или самому устройству, и это назвается блокировкой на уровне прошивки или софта, но не на уровне железа, и эта блокировка может быть снята без механического вмешательства отправкой нужной команды, а значит это блокировка не на уровне железа.

Добавлено через 8 часов 0 минут
Nintendo Switch 2 обошла по продажам PS5 Digital Edition и Xbox Series

https://www.igromania.ru/news/151945...ies-v-yaponii/

Добавлено через 8 часов 8 минут
Nintendo обогнала сторонние студии по продажам игр для Switch 2

https://www.igromania.ru/news/151913...dlya-switch-2/

Добавлено через 8 часов 19 минут
Покупатели получают пустые коробки или фотографии вместо Nintendo Switch 2

https://www.igromania.ru/news/151825...endo-switch-2/
__________________
LAPTOP LENOVO LEGION 7I GEN 6 || INTEL CORE I9-11980HK @ 3.30-5.00 GHz || NVIDIA GEFORCE RTX 3080 16GB GDDR6 165W || 32 GB RAM DDR4 3200MHz (2 x 16 GB ) || 2X1TB SSD RAID 0 || WINDOWS 11 PRO 64 || 16″ WQXGA GAMING DISPLAY @ 165Hz

Последний раз редактировалось Барбекю; 20.06.2025 в 20:29. Причина: Добавлено сообщение
Барбекю вне форума  
Ответить с цитированием
Старый 25.06.2025, 20:22   #106
Гейммастер
 
Аватар для Барбекю
 
Регистрация: 19.04.2014
Адрес: Twin Peaks
Сообщений: 9,814
Репутация: 823 [+/-]
Над захватом движений для Death Stranding 2 работало Nintendo

https://www.igromania.ru/news/152077...enie-nintendo/
__________________
LAPTOP LENOVO LEGION 7I GEN 6 || INTEL CORE I9-11980HK @ 3.30-5.00 GHz || NVIDIA GEFORCE RTX 3080 16GB GDDR6 165W || 32 GB RAM DDR4 3200MHz (2 x 16 GB ) || 2X1TB SSD RAID 0 || WINDOWS 11 PRO 64 || 16″ WQXGA GAMING DISPLAY @ 165Hz
Барбекю вне форума  
Ответить с цитированием
Старый 30.06.2025, 19:41   #107
Гейммастер
 
Аватар для Барбекю
 
Регистрация: 19.04.2014
Адрес: Twin Peaks
Сообщений: 9,814
Репутация: 823 [+/-]
Создатели Hitman и 007 First Light объяснили поддержку Switch 2

https://www.igromania.ru/news/152179...zhku-switch-2/
__________________
LAPTOP LENOVO LEGION 7I GEN 6 || INTEL CORE I9-11980HK @ 3.30-5.00 GHz || NVIDIA GEFORCE RTX 3080 16GB GDDR6 165W || 32 GB RAM DDR4 3200MHz (2 x 16 GB ) || 2X1TB SSD RAID 0 || WINDOWS 11 PRO 64 || 16″ WQXGA GAMING DISPLAY @ 165Hz
Барбекю вне форума  
Ответить с цитированием
Старый 01.07.2025, 20:22   #108
Гейммастер
 
Аватар для Барбекю
 
Регистрация: 19.04.2014
Адрес: Twin Peaks
Сообщений: 9,814
Репутация: 823 [+/-]
Продажи Nintendo Switch 2 по всему миру превысили 5 миллионов устройств

https://www.igromania.ru/news/152253...po-vsemu-miru/
__________________
LAPTOP LENOVO LEGION 7I GEN 6 || INTEL CORE I9-11980HK @ 3.30-5.00 GHz || NVIDIA GEFORCE RTX 3080 16GB GDDR6 165W || 32 GB RAM DDR4 3200MHz (2 x 16 GB ) || 2X1TB SSD RAID 0 || WINDOWS 11 PRO 64 || 16″ WQXGA GAMING DISPLAY @ 165Hz

Последний раз редактировалось Барбекю; 01.07.2025 в 20:24. Причина: Добавлено сообщение
Барбекю вне форума  
Ответить с цитированием
Старый 03.07.2025, 20:07   #109
Гейммастер
 
Аватар для Барбекю
 
Регистрация: 19.04.2014
Адрес: Twin Peaks
Сообщений: 9,814
Репутация: 823 [+/-]
Nintendo не стала подтверждать 5 миллионов продаж Switch 2 — данные могут быть ошибочными

https://www.igromania.ru/news/152311...oshibochnyimi/
__________________
LAPTOP LENOVO LEGION 7I GEN 6 || INTEL CORE I9-11980HK @ 3.30-5.00 GHz || NVIDIA GEFORCE RTX 3080 16GB GDDR6 165W || 32 GB RAM DDR4 3200MHz (2 x 16 GB ) || 2X1TB SSD RAID 0 || WINDOWS 11 PRO 64 || 16″ WQXGA GAMING DISPLAY @ 165Hz
Барбекю вне форума  
Ответить с цитированием
Старый 08.07.2025, 09:41   #110
Гейммастер
 
Аватар для Барбекю
 
Регистрация: 19.04.2014
Адрес: Twin Peaks
Сообщений: 9,814
Репутация: 823 [+/-]
Авторы Grounded и улучшенной The Outer Worlds высоко оценили мощь Nintendo Switch 2

https://www.igromania.ru/news/152480...endo-switch-2/
__________________
LAPTOP LENOVO LEGION 7I GEN 6 || INTEL CORE I9-11980HK @ 3.30-5.00 GHz || NVIDIA GEFORCE RTX 3080 16GB GDDR6 165W || 32 GB RAM DDR4 3200MHz (2 x 16 GB ) || 2X1TB SSD RAID 0 || WINDOWS 11 PRO 64 || 16″ WQXGA GAMING DISPLAY @ 165Hz
Барбекю вне форума  
Ответить с цитированием
Старый 10.07.2025, 19:37   #111
Гейммастер
 
Аватар для Барбекю
 
Регистрация: 19.04.2014
Адрес: Twin Peaks
Сообщений: 9,814
Репутация: 823 [+/-]
GameStop выставила на аукцион степлер, которым продавцы дырявили экраны Nintendo Switch 2

https://www.igromania.ru/news/152645...endo-switch-2/
__________________
LAPTOP LENOVO LEGION 7I GEN 6 || INTEL CORE I9-11980HK @ 3.30-5.00 GHz || NVIDIA GEFORCE RTX 3080 16GB GDDR6 165W || 32 GB RAM DDR4 3200MHz (2 x 16 GB ) || 2X1TB SSD RAID 0 || WINDOWS 11 PRO 64 || 16″ WQXGA GAMING DISPLAY @ 165Hz
Барбекю вне форума  
Ответить с цитированием
Старый 21.07.2025, 09:09   #112
Гейммастер
 
Аватар для Барбекю
 
Регистрация: 19.04.2014
Адрес: Twin Peaks
Сообщений: 9,814
Репутация: 823 [+/-]
Donkey Kong Bananza для Nintendo Switch 2 показала сильный старт в рознице Британии

https://www.igromania.ru/news/153047...itse-britanii/

Добавлено через 14 минут
Степлер, которым царапали экраны Switch 2, продали за 250 тысяч долларов

https://www.igromania.ru/news/152977...yach-dollarov/
__________________
LAPTOP LENOVO LEGION 7I GEN 6 || INTEL CORE I9-11980HK @ 3.30-5.00 GHz || NVIDIA GEFORCE RTX 3080 16GB GDDR6 165W || 32 GB RAM DDR4 3200MHz (2 x 16 GB ) || 2X1TB SSD RAID 0 || WINDOWS 11 PRO 64 || 16″ WQXGA GAMING DISPLAY @ 165Hz

Последний раз редактировалось Барбекю; 21.07.2025 в 09:23. Причина: Добавлено сообщение
Барбекю вне форума  
Ответить с цитированием
Старый 21.07.2025, 21:01   #113
Модератор
 
Аватар для DoctorWagner

 
Регистрация: 31.07.2011
Адрес: Екатеринбург
Сообщений: 26,192
Репутация: 2855 [+/-]
Сегодня у знакомого попробовал немного покатать во второй Свитч. В целом, ничего особенного. Тот же Киберпанк оставляет желать лучшего. На Свиче я бы его точно проходить не стал, фпс низкий, двигаешься практически в киселе, плюс небольшой эффект размытия, который меня всегда бесил. А вот Марио Ворлд уже повеселее, но оно и понятно, именно под эксклюзивы Нинки эту консоль только и брать. Внешний вид тоже каких-то восторгов не вызывает, как и меню консоли. Одним словом, брать строго фанатам Нинки и её игр, а всем остальным хватит пека или Стим Дэка, если уж портатив именно нужен.
DoctorWagner вне форума  
Ответить с цитированием
Старый 01.08.2025, 22:20   #114
Гейммастер
 
Аватар для Барбекю
 
Регистрация: 19.04.2014
Адрес: Twin Peaks
Сообщений: 9,814
Репутация: 823 [+/-]
Nintendo продала 5,8 млн Switch 2 и 5,6 млн копий Mario Kart World

https://www.igromania.ru/news/153474...rio-kart-world

Добавлено через 1 минуту
Авторы Battlefield 6 не планируют релиз на Nintendo Switch 2

https://www.igromania.ru/news/153469...-ta-auditoriya
__________________
LAPTOP LENOVO LEGION 7I GEN 6 || INTEL CORE I9-11980HK @ 3.30-5.00 GHz || NVIDIA GEFORCE RTX 3080 16GB GDDR6 165W || 32 GB RAM DDR4 3200MHz (2 x 16 GB ) || 2X1TB SSD RAID 0 || WINDOWS 11 PRO 64 || 16″ WQXGA GAMING DISPLAY @ 165Hz

Последний раз редактировалось Барбекю; 01.08.2025 в 22:22. Причина: Добавлено сообщение
Барбекю вне форума  
Ответить с цитированием
Старый 03.08.2025, 12:46   #115
Гейммастер
 
Аватар для Барбекю
 
Регистрация: 19.04.2014
Адрес: Twin Peaks
Сообщений: 9,814
Репутация: 823 [+/-]
Физическое издание Octopath Traveler 0 для Switch 2 окажется карточкой с ключом

https://www.igromania.ru/news/153537...koj-s-klyuchom
__________________
LAPTOP LENOVO LEGION 7I GEN 6 || INTEL CORE I9-11980HK @ 3.30-5.00 GHz || NVIDIA GEFORCE RTX 3080 16GB GDDR6 165W || 32 GB RAM DDR4 3200MHz (2 x 16 GB ) || 2X1TB SSD RAID 0 || WINDOWS 11 PRO 64 || 16″ WQXGA GAMING DISPLAY @ 165Hz
Барбекю вне форума  
Ответить с цитированием
Старый 09.08.2025, 11:08   #116
Pip-Boy 2000
 
Аватар для Текстоплёт
 
Регистрация: 05.03.2009
Адрес: Москва
Сообщений: 11,044
Репутация: 3611 [+/-]
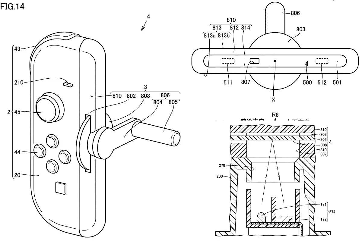
Порыбачим? Nintendo запатентовала кривошипный аксессуар для Joy-Con 2
Цитата:
Недавно опубликованная патентная заявка Nintendo раскрывает концепцию кривошипной насадки для контроллеров Switch 2.

Это устройство позволит использовать левый Joy-Con 2 в качестве контроллера для удочки, сделав рыбалку в играх, например, в возможных будущих версиях Animal Crossing: New Horizons, более реалистичной.

В отличие от картонного удилища Toy-Con из набора Labo для оригинальной Switch, новый аксессуар будет пластиковым или металлическим. Для отслеживания вращения кривошипа патент предлагает использовать датчики мыши внутри Joy-Con 2.

Энтузиасты предполагают, что такое устройство откроет путь для портирования игр с Playdate, использующих кривошип, а также позволит играть в классические игры про рыбалку, такие как Sega Bass Fishing, на Switch 2.
Скрытый текст:

Патентная заявка, поданная еще в феврале 2024 года, также включает другие идеи для Joy-Con 2, например, кликабельное колесо, подобное колесу компьютерной мыши. Nintendo, вероятно, стремится закрепить права на эти концепции до их возможного появления у конкурентов.

Что касается игр, то Nintendo на днях провела Indie World, где показала почти 20 игр — от головоломок до выживания мыши зимой. Полный список смотрите в материале нашего коллеги. А неделей ранее на Direct показали игры сторонних разработчиков, которые выйдут на Switch 2. Место нашлось Cronos: The New Dawn и играм Square Enix.
Текстоплёт на форуме  
Отправить сообщение для Текстоплёт с помощью ICQ Ответить с цитированием
Старый 09.08.2025, 12:50   #117
Гейммастер
 
Аватар для Барбекю
 
Регистрация: 19.04.2014
Адрес: Twin Peaks
Сообщений: 9,814
Репутация: 823 [+/-]
Если они не выпустят эту насадку для рыбалки в скором времени, это будет абъюзерством патентной системы, так как патентная система существует для стимулирования инноваций. А если они запатентовали только для того, чтобы никто другой не сделал, но при этом сами не будут делать, или зарядят космическую цену на лицензирование продуктов на основе этого патента, что никто не станет его использовать, то этот патент будет препятствовать пользованию этой инновацией.
__________________
LAPTOP LENOVO LEGION 7I GEN 6 || INTEL CORE I9-11980HK @ 3.30-5.00 GHz || NVIDIA GEFORCE RTX 3080 16GB GDDR6 165W || 32 GB RAM DDR4 3200MHz (2 x 16 GB ) || 2X1TB SSD RAID 0 || WINDOWS 11 PRO 64 || 16″ WQXGA GAMING DISPLAY @ 165Hz
Барбекю вне форума  
Ответить с цитированием
Старый 14.08.2025, 01:01   #118
Новичок
 
Регистрация: 07.09.2020
Сообщений: 25
Репутация: 148 [+/-]
Ну и как свитч 2? Кто уже успел пощупать?
Хрононафт вне форума  
Ответить с цитированием
Старый 14.08.2025, 22:40   #119
Модератор
 
Аватар для DoctorWagner

 
Регистрация: 31.07.2011
Адрес: Екатеринбург
Сообщений: 26,192
Репутация: 2855 [+/-]
Хрононафт, ничего особенного, для не фанатов, смысла в скорой покупке консоли нет.
DoctorWagner вне форума  
Ответить с цитированием
Старый 14.08.2025, 23:38   #120
Гейммастер
 
Аватар для Барбекю
 
Регистрация: 19.04.2014
Адрес: Twin Peaks
Сообщений: 9,814
Репутация: 823 [+/-]
Как и с ПС5, игор нет. Может под конец жизненного цикла и появится смысл купить прошитый БУшный на Авито.
__________________
LAPTOP LENOVO LEGION 7I GEN 6 || INTEL CORE I9-11980HK @ 3.30-5.00 GHz || NVIDIA GEFORCE RTX 3080 16GB GDDR6 165W || 32 GB RAM DDR4 3200MHz (2 x 16 GB ) || 2X1TB SSD RAID 0 || WINDOWS 11 PRO 64 || 16″ WQXGA GAMING DISPLAY @ 165Hz
Барбекю вне форума  
Ответить с цитированием
Ответ

Метки
nintendo switch 2

Опции темы

Ваши права в разделе
Вы не можете создавать новые темы
Вы не можете отвечать в темах
Вы не можете прикреплять вложения
Вы не можете редактировать свои сообщения

BB коды Вкл.
Смайлы Вкл.
[IMG] код Вкл.
HTML код Выкл.

Быстрый переход


Часовой пояс GMT +4, время: 09:48.


Powered by vBulletin® Version 3.8.0
Copyright ©2000 - 2026, Jelsoft Enterprises Ltd.
Rambler's Top100 Яндекс цитирования